產品分類
PRODUCT- 手持氣象站
- 便攜式氣象站
- 車載氣象站
- 自動氣象站
- 超聲波氣象站
- 化工自動氣象站
- 森林氣象站
- 校園氣象站
- 雪深監測站
- 輸電線路氣象站
- 雷電預警系統
- 機場氣象站
- 高精度風蝕自動氣象站
- 海洋氣象站
- 可升降避雷針
- 夜視儀
- 北斗環境監測站
- 氣象傳感器
- 水文監測系統
- 農業氣象站
- 草原氣象站
- 交通氣象站
- 光伏氣象站
- 景區氣象站
推薦文章
聯系我們
山東風途電子科技有限公司
服務熱線:16652863761
客服QQ:2749609891
客服微信:16652863761
公司地址:山東省濰坊市高新區光電路155號光電產業加速器(一期)

產品詳情
一、一體式風速風向傳感器技術指標
一體式風速風向傳感器又稱機械式風速風向儀,一體式風速風向傳感器是一種較為先進的測量風速風向的儀器,是采用機械式結構的風速和風向傳感器。
供電:DC12V
工作環境:-40~70℃,濕度≤100%無凝露
通信接口:RS485
工作電流:55mA DC12V
啟動風速:0.5m/s
最短數據間隔:0.5S
殼體材料:高分子工程塑料
二、一體式風速風向傳感器參數
| 參數 | 測量范圍 | 分辨率 | 精度 |
| 風速 | 0-60m/s | 0.01m/s | ±0.2m/s |
| 風向 | 0-360度 | 0.1度 | ±1度 |
| 平均風速 | 0-60m/s | 0.01m/s | ±0.2m/s |
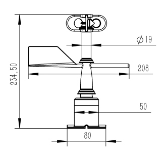
三、一體式風速風向傳感器外觀尺寸

四、一體式風速風向傳感器安裝要求

安裝時底座箭頭N的方向需指向正北方向(如上圖所示)
更新時間:2025-11-15
文章地址:http://www.wwwyh6080.com/qxcgq/1594.html




